〜海外の独創的な工業製品を、日本の製造現場へお届けしております〜
HOME | アスファルトフィニッシャー用 超音波センサー_グレードソナー

アスファルト フィニッシャー用 超音波 グレードソナー

GRADE SONAR
堅牢なキャリングケースに収納された、左・右の[センサー+コントローラー]が一式になった便利なセットです(1機から購入可能)
 

超音波発信部が基準面から300mmになるよう設置し、ゼロ点設定をするだけの簡単セットアップでご使用いただけるアスファルトフィニッシャー用超音波センサー・グレードソナーです。Φ6mm以上のワイヤーをご使用いただければ丁張り検出も可能です。また、舗装中に厚みを変更する際も、標準装備のリモートコントローラーのダイアルを回して調整できます。

 

 
シンプルな構造でどなたにも簡単にご使用いただけるセンサーで、低コスト・短納期で導入いただけます。機械側ピン形状が異なる場合も、ミリタリー仕様 MIL-DTL-5015準拠の10ピンコネクターを無償提供いたしますのでお申し出ください。

基準面から300mm・丁張り検出Φ6mm~(検知幅78mm)
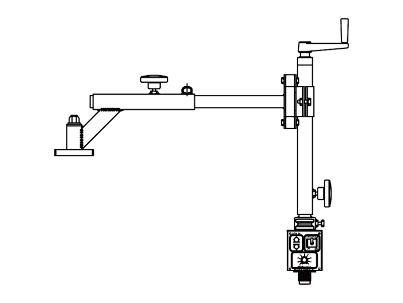
一般的なハンドル付取付ブラケットへの設置イメージ図

NPN出力仕様(標準)・On/Off油圧制御

■PNP仕様フィニッシャーに対しても、国内で改造対応いたしますのでご相談ください■
~コネクター形状が異なる場合は、下記10ピンコネクター(MS3102A-18-1P)を無償提供~

■ フィニッシャー用 超音波グレードソナー・現場写真

■ フィニッシャー用 超音波グレードソナー・仕様

● 本体寸法(mm): W130 x H230 x D110

● 総重量: 18.2kg(キャリングケース:65x50x25cm)

● 超音波センサー: 距離300mm 幅78mm

● 出力信号: NPN 油圧On/Off制御(PNPへも対応可)

● 供給電源: DC12/24V ±20%(30W max)

● 周波数: 180kHz、精度: ±1mm、再現性: ±0.5mm

● 温度補正: 0~50℃、使用環境温度: -10~70℃

● 保護等級: IP54、コネクター: MIL-DTL-5015準拠